渦輪流量計前后直管段安裝要求
渦輪流量計可水平、垂直安裝,垂直安裝時流體方向必須向上,液體應充滿管道,不得有氣泡。
安裝時,液體流動方向應與傳感器外殼上指示流向的箭頭方向一致。安裝時必須使管道內流體滿管,才能保證測量精準。

渦輪流量計上游端至少應有10倍公稱通徑長度的直管段,下游端應不少于5倍公稱通徑的直管段,其內壁應光滑清潔,無凹痕、積垢和起皮等缺陷。
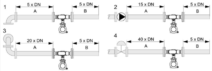
傳感器的管道軸心應與相鄰管道軸心對準,連接密封用的墊圈不得深入管道內腔。不同情況下的直管段要求如下圖。

同時在安裝時應避免管道內產生氣泡,否則會影響測量的精度。

有多位朋友表示對下圖的直管段有疑問,在此說明一下:
1-代表帶90°彎頭的管道或三通(T形)管
2-代表泵
3-代表帶2個90°彎頭的兩相管道
4-代表控制閥

下一篇:渦輪流量計維護保養的要求有哪些
上一篇:渦輪流量計常見故障判斷處理
相關資訊
- 黏度對渦輪流量計有什么影響
- 渦輪流量計的特點有哪些
- 渦輪流量計沒有信號輸出的原因分析
- 渦輪流量計計量不準確的原因與處理
- 氣體渦輪流量計計量不準的因素分析
- 氣體渦輪流量計的技術參數
- 氣體渦輪流量計與旋進旋渦流量計的區別
- 氣體渦輪流量計的性能特點
- 氣體渦輪流量計維護保養
- 氣體渦輪流量計的規格型號
- 渦輪流量計正確使用方法
- 渦輪流量計的接線方法
- 渦輪流量計種類有哪些
- 渦輪流量計型號規格說明
- 渦輪流量計有什么優缺點
- 影響渦輪流量計計量精度的因素
- 氣體渦輪流量計安裝要求與注意事項
- 氣體渦輪流量計的原理結構及應用
- 氣體渦輪流量計的優缺點
- 氣體渦輪流量計如何正確的選型
- 渦輪流量計適用于什么場合
- 渦輪流量計的安裝有哪些要求
- 渦輪流量計組成部分有哪些
- 渦輪流量計維護保養的要求有哪些
- 渦輪流量計前后直管段安裝要求
- 渦輪流量計常見故障判斷處理
- 渦輪流量計的工作原理與結構圖
- 渦輪流量計與渦街流量計的區別
- 渦輪流量計怎樣選流量范圍
- 渦輪流量計選型注意事項有哪些

