飽和蒸汽流量計,蒸汽智能流量計
飽和蒸汽流量計概述
渦街流量計是以全新的設計理念,將溫度、壓力、流量信號集于一體,通過智能數字處理器將三種信號混合處理后輸出一個補償后的標準流量,從而實現了對氣體、蒸汽的溫壓補償功能。由于采用了智能一體化的設計理念,因此,凱銘渦街流量計具有結構緊湊、安裝使用維護方便的特點。

飽和蒸汽流量計參數
1、口徑:DN15~DN3000mm
2、公稱壓力:0.6~42MPa
3、工況溫度:-180~+500℃
4、精度:±1.5%FS
5、輸出信號:4~20mA二線制;脈沖0~1000HZ;RS232/RS485(或按用戶要求協商提供)
6、防護等級:IP65 IP67
7、防爆標志:本安型ExiallCT4;隔爆型ExdllCT4
8、執行標準:企標Q/BET05-06
9、表頭顯示:累積流量;瞬時流量;工況溫度;工況壓力(溫壓補償式才有);棒狀滿量程百分比;故障自檢
10、公稱通徑:卡裝式:DN10~DN300; 插入式:DN350~DN1000; 法蘭式:DN10~DN3000
飽和蒸汽流量計流量范圍

常用氣體介質的標準狀態密度(0℃,絕壓P=0.1MPa)
飽和蒸汽流量計產品型譜
飽和蒸汽流量計分類




飽和蒸汽流量計的安裝要求(D為管道的直徑)
安裝條件
1、工作條件
傳感器可在2下正常連續工作
2、環境條件
2.1環境溫度:-40~+55℃ (非防爆場所)
2.2環境濕度:≤85%(相對濕度)
2.3大氣壓力:86~106Kpa
3、安裝指南:
a)傳感器安裝在管道上的位置一定要選振動小的地方,振動加速度不能大于0.2g,如大于需要采取減震措施。
b)傳感器的上游側和下游側必須有足夠的直管段見示意圖。

c)對于卡裝連接儀表,法蘭焊后必須保證法蘭的端面與管道垂直,內表面光滑,見圖。

d)傳感器可水平、垂直或傾斜安裝在直管上,當垂直安裝測液體時,液體必須由下而上流動。
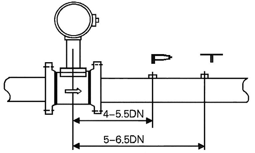
e)當在渦街流量傳感器同壓力傳感器和溫度傳感器組成測量系統時,其壓力、溫度測量點的位置如圖。

f)渦街流量傳感器安裝步驟可參考方法A或方法B(以法蘭卡裝型為例):
方法A:
Ⅰ選定安裝位置,并取前15DN,后5DN直管段割下。

Ⅱ在選表位置焊上兩片法蘭,并將傳感器裝好。
Ⅲ去掉原管多出的直管(即表體寬度)。

Ⅳ將傳感器的前后直管段焊到原工藝管道上。

方法B:
Ⅰ考慮前15DN,后5DN選定裝表位置。

Ⅱ取下表體寬度的一段管,焊上兩片法蘭連接孔同心,將傳感器螺栓緊固好。

飽和蒸汽流量計的工作原理
在流體中設置非流線型旋渦發生體(阻流體),則從旋渦發生體兩側交替地產生兩列有規則的旋渦,這種旋渦稱為卡曼渦街,如圖所示。

旋渦列在旋渦發生體下游非對稱地排列。設旋渦的發生頻率為f,被測介質來流的平均速度為V,旋渦發生體迎流面寬度為d,表體通徑為D,根據卡曼渦街原理,有如下關系式:
f=StV/d 公式(1)
式中:
f-發生體一側產生的卡門旋渦頻率
St-斯特羅哈爾數(無量綱數)
V-流體的平均流速
d-旋渦發生體的寬度
由此可見,通過測量卡門渦街分離頻率便可算出瞬時流量。其中,斯特羅哈爾數(St)是無因次未知數,
圖表示斯特羅哈爾數(St)與雷諾數(Re)的關系。

在曲線表中St=0.17的平直部分,漩渦的釋放頻率與流速成正比,即為渦街流量傳感器測量范圍度。只要檢測出頻率f就可以求得管內流體的流速,由流速V求出體積流量。所測得的脈沖數與體積量之比,稱為儀表常數(K),見式(2)
K=N/Q(1/m³) 公式(2)
式中:K=儀表常數(1/m³)。
N=脈沖個數
Q=體積流量(m³)
飽和蒸汽流量計產品特點
1.測量介質: 氣體、液體、蒸氣;
2.口徑規格 法蘭卡裝式口徑選擇 25,32,50,80,100;
3.法蘭連接式口徑選擇 100,150,200;
4.流量測量范圍 正常測量流速范圍 雷諾數1.5×104~4×106;氣體5~50m/s; 液體0.5~7m/s;
正常測量流量范圍 液體、氣體流量測量范圍見表2; 蒸氣流量范圍見表3
5.測量精度 1.0級 1.5級;
6.被測介質溫度:常溫–25℃~100℃;
7.高溫–25℃~150℃ -25℃~250℃;
8.輸出信號 脈沖電壓輸出信號 高電平8~10V 低電平0.7~1.3V;
9.脈沖占空比約50%,傳輸距離為100m;
10.脈沖電流遠傳信號 4~20 mA,傳輸距離為1000m;
11.儀表使用環境 溫度:-25℃~+55℃ 濕度:5~90% RH50℃;
12.材質 不銹鋼, 鋁合金;
13.電源 DC24V或鋰電池3.6V;
14.防爆等級 本安型iaIIbT3-T6;
15.防護等級 IP65。
渦街流量計是以全新的設計理念,將溫度、壓力、流量信號集于一體,通過智能數字處理器將三種信號混合處理后輸出一個補償后的標準流量,從而實現了對氣體、蒸汽的溫壓補償功能。由于采用了智能一體化的設計理念,因此,凱銘渦街流量計具有結構緊湊、安裝使用維護方便的特點。

飽和蒸汽流量計參數
1、口徑:DN15~DN3000mm
2、公稱壓力:0.6~42MPa
3、工況溫度:-180~+500℃
4、精度:±1.5%FS
5、輸出信號:4~20mA二線制;脈沖0~1000HZ;RS232/RS485(或按用戶要求協商提供)
6、防護等級:IP65 IP67
7、防爆標志:本安型ExiallCT4;隔爆型ExdllCT4
8、執行標準:企標Q/BET05-06
9、表頭顯示:累積流量;瞬時流量;工況溫度;工況壓力(溫壓補償式才有);棒狀滿量程百分比;故障自檢
10、公稱通徑:卡裝式:DN10~DN300; 插入式:DN350~DN1000; 法蘭式:DN10~DN3000
飽和蒸汽流量計流量范圍

常用氣體介質的標準狀態密度(0℃,絕壓P=0.1MPa)
| 氣體名稱 | 密度(kg/m3) | 氣體名稱 | 密度(kg/m3) |
| 空氣(干) | 1.2928 | 乙炔 | 1.1717 |
| 氮氣 | 1.2506 | 乙烯 | 1.2604 |
| 氧氣 | 1.4289 | 丙烯 | 1.9140 |
| 氬氣 | 1.7840 | 甲烷 | 0.7167 |
| 氖氣 | 0.9000 | 乙烷 | 1.3567 |
| 氨氣 | 0.7710 | 丙烷 | 2.0050 |
| 氫氣 | 0.08988 | 丁烷 | 2.7030 |
| 一氧化碳 | 1.97704 | 天然氣 | 0.8280 |
| 二氧化碳 | 1.3401 | 煤制氣 | 0.8020 |
飽和蒸汽流量計產品型譜
| 型號 | 口徑 | 流量范圍m³/h | |||||||||
| 液體 | 氣體 | 飽和蒸汽 | |||||||||
| LU-25 | DN25 | 1~10 | 25~60 | 10~85 | |||||||
| LU-32 | DN32 | 1.5~18 | 15~150 | 14~140 | |||||||
| LU-40 | DN40 | 2.2~27 | 22.6~150 | 22~220 | |||||||
| LU-50 | DN50 | 4~55 | 35~350 | 35~350 | |||||||
| LU-65 | DN65 | 14~200 | 60~600 | 60~600 | |||||||
| LU-80 | DN80 | 9~135 | 90~900 | 86~860 | |||||||
| LU-100 | DN100 | 14~200 | 140~1400 | 135~1350 | |||||||
| LU-125 | DN125 | 12~360 | 220~2200 | 210~2100 | |||||||
| LU-150 | DN150 | 30~450 | 350~3500 | 300~3000 | |||||||
| LU-200 | DN200 | 56~800 | 550~5500 | 550~5500 | |||||||
| LU-250 | DN250 | 45~1500 | 900~9000 | 850~8500 | |||||||
| LU-300 | DN300 | 65~2000 | 1360~13600 | 1250~12500 | |||||||
| 代號 | 功能1 | ||||||||||
| N | 無溫壓補償 | ||||||||||
| Y | 有溫壓補償 | ||||||||||
| 代號 | 輸出型號 | ||||||||||
| F1 | 4-20mA輸出(二線制) | ||||||||||
| F2 | 4-20mA輸出(三線制) | ||||||||||
| F3 | RS485通訊接口 | ||||||||||
| 代號 | 被測介質 | ||||||||||
| J1 | 液體 | ||||||||||
| J2 | 氣體 | ||||||||||
| J3 | 蒸汽 | ||||||||||
| 代號 | 連接方式 | ||||||||||
| L1 | 法蘭卡裝式 | ||||||||||
| L2 | 法蘭連接式 | ||||||||||
| 代號 | 功能2 | ||||||||||
| E1 | 1.0級(適用于液體) | ||||||||||
| E2 | 1.5級 | ||||||||||
| T1 | 常溫 | ||||||||||
| T2 | 高溫 | ||||||||||
| T3 | 蒸汽 | ||||||||||
| P1 | 1.6MPa | ||||||||||
| P2 | 2.5MPa | ||||||||||
| P3 | 4.0MPa | ||||||||||
| D1 | 內部3.6V供電(不帶輸出) | ||||||||||
| D2 | DC24V供電 | ||||||||||
| B1 | 不銹鋼(法蘭材質) | ||||||||||
| B2 | 碳鋼(法蘭材質) | ||||||||||
飽和蒸汽流量計分類




飽和蒸汽流量計的安裝要求(D為管道的直徑)
| 管道情況 | 上游 | 下游 |
| 同心收縮管 全開閘閥 | 15D | 5D |
| 90℃直角彎頭 | 20D | 5D |
| 同平面二個90℃彎頭 | 25D | 5D |
| 半開閘閥 調節閥 | 50D | 5D |
| 不同平面二個90℃彎頭 | 40D | 5D |
| 帶整流管束 | 12D | 5D |
1、工作條件
傳感器可在2下正常連續工作
2、環境條件
2.1環境溫度:-40~+55℃ (非防爆場所)
2.2環境濕度:≤85%(相對濕度)
2.3大氣壓力:86~106Kpa
3、安裝指南:
a)傳感器安裝在管道上的位置一定要選振動小的地方,振動加速度不能大于0.2g,如大于需要采取減震措施。
b)傳感器的上游側和下游側必須有足夠的直管段見示意圖。

c)對于卡裝連接儀表,法蘭焊后必須保證法蘭的端面與管道垂直,內表面光滑,見圖。

d)傳感器可水平、垂直或傾斜安裝在直管上,當垂直安裝測液體時,液體必須由下而上流動。
e)當在渦街流量傳感器同壓力傳感器和溫度傳感器組成測量系統時,其壓力、溫度測量點的位置如圖。

f)渦街流量傳感器安裝步驟可參考方法A或方法B(以法蘭卡裝型為例):
方法A:
Ⅰ選定安裝位置,并取前15DN,后5DN直管段割下。

Ⅱ在選表位置焊上兩片法蘭,并將傳感器裝好。
Ⅲ去掉原管多出的直管(即表體寬度)。

Ⅳ將傳感器的前后直管段焊到原工藝管道上。

方法B:
Ⅰ考慮前15DN,后5DN選定裝表位置。

Ⅱ取下表體寬度的一段管,焊上兩片法蘭連接孔同心,將傳感器螺栓緊固好。

飽和蒸汽流量計的工作原理
在流體中設置非流線型旋渦發生體(阻流體),則從旋渦發生體兩側交替地產生兩列有規則的旋渦,這種旋渦稱為卡曼渦街,如圖所示。

旋渦列在旋渦發生體下游非對稱地排列。設旋渦的發生頻率為f,被測介質來流的平均速度為V,旋渦發生體迎流面寬度為d,表體通徑為D,根據卡曼渦街原理,有如下關系式:
f=StV/d 公式(1)
式中:
f-發生體一側產生的卡門旋渦頻率
St-斯特羅哈爾數(無量綱數)
V-流體的平均流速
d-旋渦發生體的寬度
由此可見,通過測量卡門渦街分離頻率便可算出瞬時流量。其中,斯特羅哈爾數(St)是無因次未知數,
圖表示斯特羅哈爾數(St)與雷諾數(Re)的關系。

在曲線表中St=0.17的平直部分,漩渦的釋放頻率與流速成正比,即為渦街流量傳感器測量范圍度。只要檢測出頻率f就可以求得管內流體的流速,由流速V求出體積流量。所測得的脈沖數與體積量之比,稱為儀表常數(K),見式(2)
K=N/Q(1/m³) 公式(2)
式中:K=儀表常數(1/m³)。
N=脈沖個數
Q=體積流量(m³)
飽和蒸汽流量計產品特點
1.測量介質: 氣體、液體、蒸氣;
2.口徑規格 法蘭卡裝式口徑選擇 25,32,50,80,100;
3.法蘭連接式口徑選擇 100,150,200;
4.流量測量范圍 正常測量流速范圍 雷諾數1.5×104~4×106;氣體5~50m/s; 液體0.5~7m/s;
正常測量流量范圍 液體、氣體流量測量范圍見表2; 蒸氣流量范圍見表3
5.測量精度 1.0級 1.5級;
6.被測介質溫度:常溫–25℃~100℃;
7.高溫–25℃~150℃ -25℃~250℃;
8.輸出信號 脈沖電壓輸出信號 高電平8~10V 低電平0.7~1.3V;
9.脈沖占空比約50%,傳輸距離為100m;
10.脈沖電流遠傳信號 4~20 mA,傳輸距離為1000m;
11.儀表使用環境 溫度:-25℃~+55℃ 濕度:5~90% RH50℃;
12.材質 不銹鋼, 鋁合金;
13.電源 DC24V或鋰電池3.6V;
14.防爆等級 本安型iaIIbT3-T6;
15.防護等級 IP65。
相關資訊
- 飽和蒸汽流量計進出口管線泄漏原因分析及處理
- 關于飽和蒸汽流量計在機車鑄造技術中的改進措施及對策
- 飽和蒸汽流量計在測量蒸汽流量時正確的安裝方式
- 飽和蒸汽流量計廠家,換熱站蒸汽流量計
- 飽和蒸汽流量計,蒸汽管道用什么流量計
- 飽和蒸汽渦街流量計,智能蒸汽渦街流量計
- 飽和蒸汽渦街流量計,過熱蒸汽渦街流量計
- 飽和蒸汽渦街流量計
- 飽和蒸汽流量計廠家,蒸汽流量計價格
- 飽和蒸汽流量計,渦街式蒸汽流量計
- 飽和蒸汽流量計,蒸汽式流量計
- 飽和蒸汽流量計,電廠蒸汽流量計
- 飽和蒸汽流量計,蒸汽智能流量計
- 飽和蒸汽流量計
- 孔板飽和蒸汽流量計節流裝置的測量誤差原因及解決措施
- 飽和蒸汽流量計廠家
- 關于飽和蒸汽流量計中的儀表選型及應用解析

